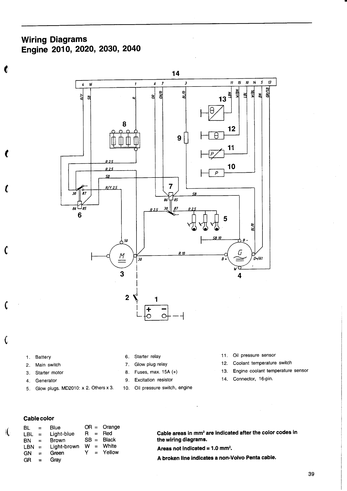
L-36.com

Owner man



Previous Page    Next Page
Go to page number
Note: Page number may not agree with index page numbers



NOTICE: Some pages have affiliate links to Amazon. As an Amazon Associate, I earn from qualifying purchases. Please read website Cookie, Privacy, and Disclamers by clicking HERE. To contact me click HERE. For my YouTube page click HERE